Daha Önce Böyle Bir İphone Görmediniz!
Apple, iPhone için geliştirdiği yeni patentte hayal gücümüzün sınırlarını zorlayacak gibi gözüküyor.
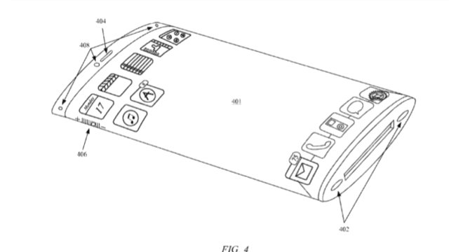
Yeni patentte iphone'nun tüm gövde ve ekranın cam materyalden oluştuğu gözüküyor.

Söz konusu tasarımda çerçevelerin ortadan kaldırılma biçimi oldukça sıradışı olsa da buApple tarafından sunulan ilk çerçevesiz iPhone tasarımı değil.
Gövdenin ön ve arka panelinin kenarlarına doğru katlanmış sıradışı bir iPhone tasarımına işaret ediyor. En az tasarım kadar ilginç olan bir diğer şey ise bütün gövde ve ekranın cam materyalden oluşuyor.
Cupertinolu firma iPhone'un ekranını kenarlara doğru çerçevleri ortadan kaldıracak biçimde genişlettiği onlarca patent dosyalanmış durumda.
Cihazın nasıl kullanılacağını da ayrıntılı biçimde gösteren patent geçtiğimiz gün ortaya çıksa da aslında ilk olarak 2011'de dosyalanmış.
HABERE YORUM KAT
Türkçe karakter kullanılmayan ve büyük harflerle yazılmış yorumlar onaylanmamaktadır.